Invention Title:

SMART COMPUTER AIDED DESIGN (CAD/CAE) SOFTWARE APPLICATION AND SYSTEM FOR DESIGNING AND MANUFACTURING ENGINEERING WORKPIECES

Publication number:

US20240192658

Publication date:
Section:

Physics

Class:

G05B19/4097

Inventor:

Assignee:

Applicant:

Drawings (4 of 23)

Smart overview of the Invention

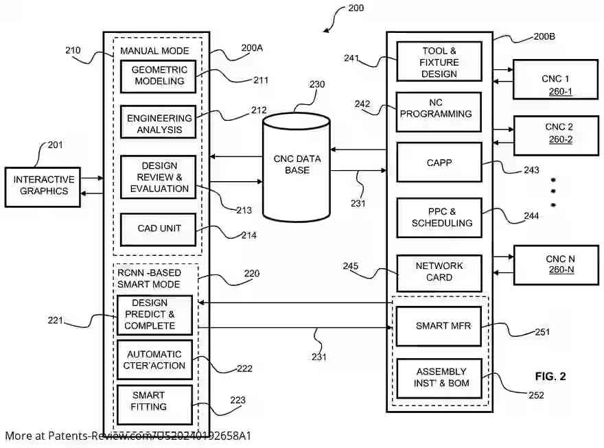
The patent application describes a smart computer-aided design (CAD) and computer-aided engineering (CAE) software system integrated with a CNC machining network. This system utilizes artificial intelligence (AI) to streamline the design and manufacturing of engineering workpieces. It addresses the need for a unified platform that combines AI capabilities with CAD/CAE and CNC machining tools, enhancing efficiency and precision in the production of complex workpieces.

AI Integration

The system employs convolutional neural networks (CNN) and recurrent neural networks (RNN) to enhance the design process. If a design is incomplete, the CNN completes it, while an auto-mode feature fits components into the design seamlessly. The RNN provides step-by-step assembly instructions, ensuring all connections within the design are fulfilled. This integration allows for predictive completion of designs and automatic adjustment of component dimensions when overall dimensions change.

Manufacturing Process

Once a design is completed, it is converted into CAD/CAE instructions ready for manufacturing. The software assigns the design to an appropriate CNC machining tool from an array connected via a network. This process ensures that the best-suited machine is selected, optimizing the manufacturing workflow. The CNC system includes modules that provide a graphic interface for both manual and smart design modes.

System Components

The CNC system comprises several key components: a CNC module with a graphic design interface, processing units to operate various modules, and memory devices to store parameters and trained datasets. The system's feature detection capabilities, powered by RNNs, deliver detailed assembly instructions, facilitating efficient construction of complex workpieces.

Innovative Features

This invention stands out by unifying AI-driven CAD/CAE processes with CNC machining operations in a single software package. It offers designers new AI-recommended design ideas, predicts incomplete designs, adjusts component dimensions automatically, and provides comprehensive assembly instructions. The system enhances collaboration between designers and manufacturers, promoting faster and more reliable production cycles.