Invention Title:

DEFORMABLE DISPLAY DEVICE

Publication number:

US20260001400

Publication date:
Section:

Performing operations; transporting

Class:

B60K35/223

Inventor:

Assignee:

Applicant:

Drawings (4 of 21)

Smart overview of the Invention

The disclosure presents a display device designed to be retractable and extendable, optimizing the screen size exposed based on necessity. This device integrates a mechanism powered by a single motor to facilitate both lower curvilinear and upper linear movements. This dual-motion capability is achieved through a moving module that efficiently transfers motor power to the display unit, allowing it to move vertically and adapt its shape.

Technical Context

In modern vehicles, display units have become essential for providing information and enhancing user interaction. Traditional mechanical inputs are being replaced by more intuitive methods such as touch and gesture inputs. With the expansion of display technology, larger screens are being integrated into vehicle dashboards, which may obstruct the driver's view. The development of autonomous driving further questions the necessity of large, static instrument panels. Thus, a flexible display solution is needed to balance visibility and functionality.

Challenges Addressed

The primary challenge is to create a display device that can retract and extend as needed, minimizing obstruction when not in use. The device must perform synchronized linear and curved movements using a single motor, ensuring efficient power use. Additionally, maintaining the display's rigidity is crucial to prevent damage and support touch inputs, even when the display is in a bent state.

Solution Mechanics

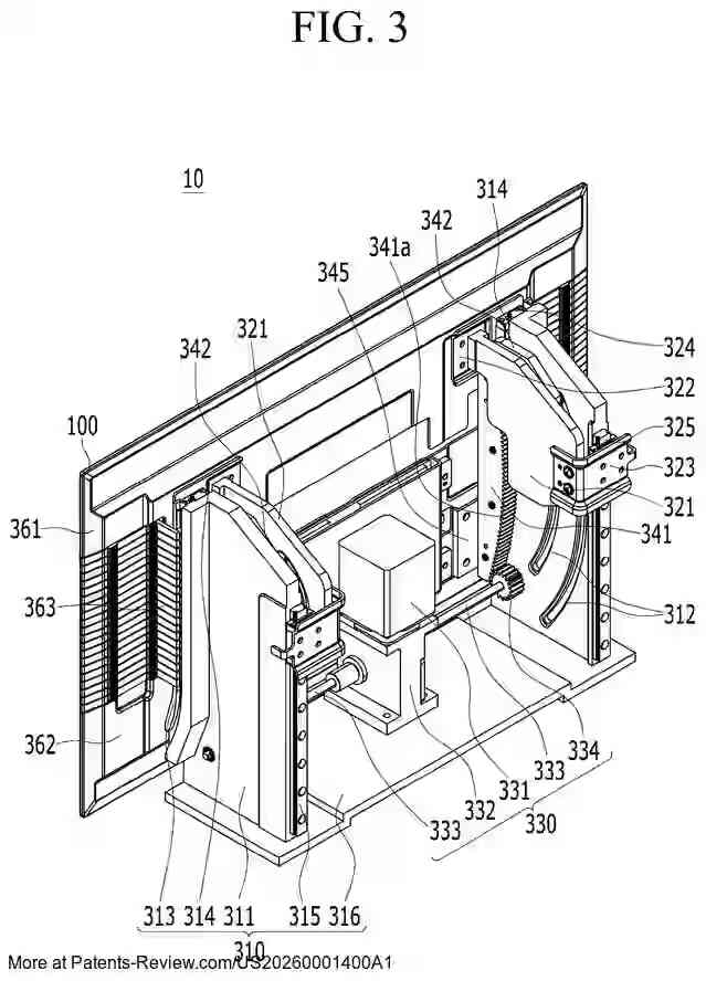
The display device comprises several components: a fixing unit, a moving unit, a driver with a pinion gear and motor, and a display unit with a variable portion. The moving unit includes linear and curved components that facilitate vertical and forward movements. The curved moving unit, featuring a lower arm with a curved rack gear, engages with the pinion gear to modify the display's angle. The fixing unit incorporates horizontal and vertical bases with curved and straight rails, guiding the movement of the display unit.

Benefits and Effects

This innovative design offers a retractable display that reduces exposed screen size, enhancing driver visibility and vehicle aesthetics. The synchronized movement of the display allows for efficient space utilization, even in misaligned storage scenarios. The device's rigidity ensures durability and reliable touch input functionality, making it a robust solution for modern vehicles. These benefits highlight the device's adaptability and potential to improve user experience in automotive applications.