Invention Title:

EXTRAMISSIVE SPATIAL IMAGING DIGITAL EYE GLASS APPARATUSES, METHODS AND SYSTEMS FOR VIRTUAL OR AUGMEDIATED VISION, MANIPULATION, CREATION, OR INTERACTION WITH OBJECTS, MATERIALS, OR OTHER ENTITIES

Publication number:

US20260003438

Publication date:
Section:

Physics

Class:

G06F3/017

Inventors:

Applicant:

Drawings (4 of 36)

Smart overview of the Invention

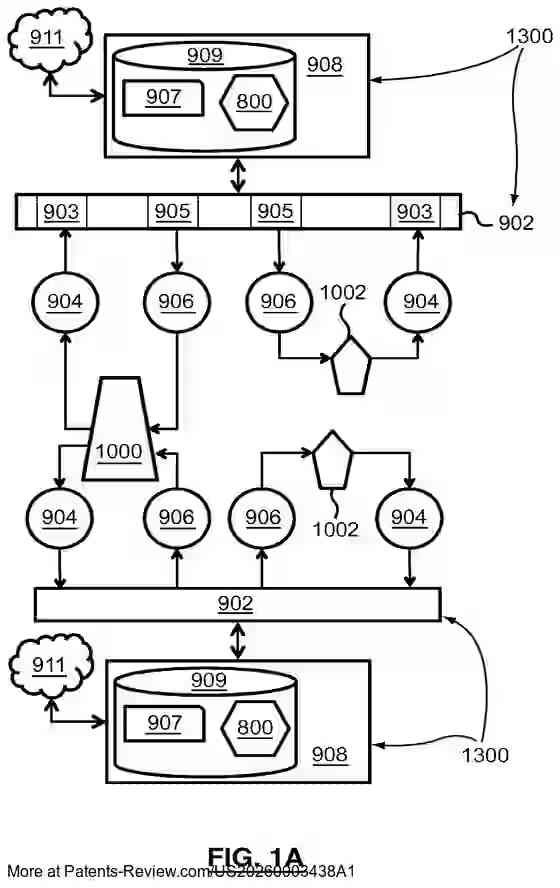
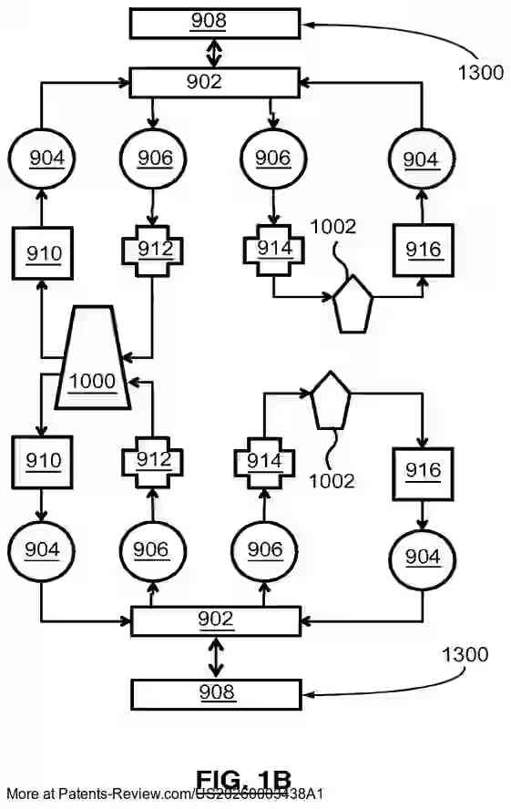
The patent application describes a sophisticated sensing and display apparatus designed for virtual or augmented reality applications. The device, referred to as an extramissive spatial imaging digital eye glass, features dual interfaces that interact with different computationally mediated spaces. These interfaces are capable of exchanging sensor and effector signals, thereby enabling enhanced interaction with virtual environments.

Technical Components

The apparatus comprises an interface assembly with two primary modules. The first module interfaces with a first reality space, utilizing sensor signals to represent phenomena such as visual data. The second module interfaces with a second space, potentially a user's personal viewing area, to display or provide sensory phenomena. This dual-interface setup allows for seamless integration and interaction between the user's physical and virtual environments.

Functionality

The system is designed to process and convey sensor and effector signals between the two spaces via a processing apparatus. This setup allows users to interact with both real and augmented environments through visual and possibly other sensory feedback. The memory assembly within the device stores a processing program that directs the processing apparatus to execute operations on these signals, facilitating complex interactions and manipulations.

User Interface

The user interface is divided into two sections, each displaying phenomena derived from the respective spaces. This layout enables users to engage with and manipulate objects within both the real and augmented environments. The apparatus supports various methods of interaction, providing a versatile platform for virtual and augmented reality applications.

Applications and Embodiments

The patent outlines numerous embodiments and potential applications of the technology, supported by detailed schematic examples. These include methods for interacting with shared objects, signal processing systems, and toposculpting systems. The detailed description and accompanying drawings provide a comprehensive overview of the device's capabilities, highlighting its potential impact on virtual and augmented reality experiences.