US20260004557
2026-01-01
Physics
G06V10/761
The patent application describes an electronic device capable of editing facial features in images using an artificial intelligence (AI) model. The device comprises a communication circuit, a display, at least one processor, and memory storing specific instructions. These components work together to identify and edit facial features in images, ensuring that any modifications maintain a level of similarity to the original face. This process involves transferring editing information to an AI model, receiving an edited image, and calculating a similarity score to determine if the edited image should be stored based on a predefined threshold.
Recent advancements in AI technology have enabled the generation and modification of images, including specific areas such as faces. While this technology offers creative possibilities, editing faces without consent raises ethical concerns. The application addresses these concerns by focusing on authenticated face editing, ensuring that only authorized facial modifications are made, and that the edited faces closely resemble the original ones.
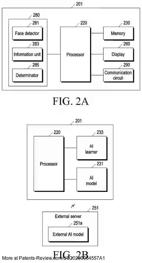
The electronic device operates by first identifying a face within an image that requires editing. It then extracts and transfers specific editing information to an AI model trained to recognize facial characteristics. Upon receiving the modified image from the AI model, the device calculates a similarity score between the original and edited faces. If this score meets or exceeds a certain threshold, the edited image is stored, ensuring that the modifications are subtle and respectful of the original likeness.
The device includes various components such as a processor, memory, display, and communication modules. The processor may include a main processor and an auxiliary processor, which can function independently or together to manage tasks efficiently. The AI model used for editing may involve several neural network architectures, such as deep neural networks or convolutional neural networks, trained through various methods like supervised or unsupervised learning.
The invention is designed to be implemented in electronic devices capable of image processing and communication. It ensures ethical use of AI in image editing by maintaining the integrity of facial features and requiring a similarity threshold for storing edited images. This approach balances the creative potential of AI with concerns about privacy and consent in digital image manipulation.